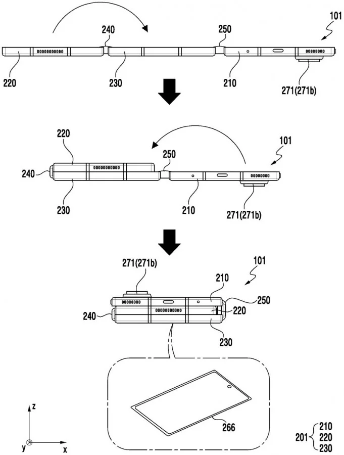
Samsung is gearing up for a big leap in 2025. The tech giant plans to release its first-ever smartphone that folds three times. While we don’t have a firm launch date yet, whispers suggest it might be called the Galaxy Z TriFold.
A recent patent filing gives us a sneak peek at this upcoming device. The Korea Intellectual Property Rights Information Service (KIPRIS) published documents showing a unique power setup. This new Galaxy Z TriFold will reportedly pack three separate batteries.
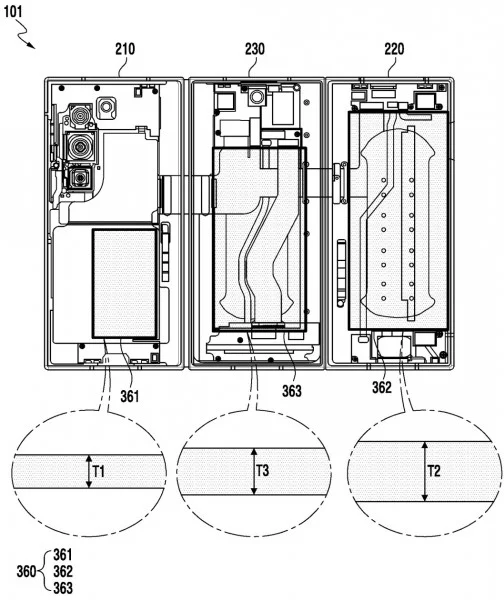
The patent drawings detail how these batteries fit into the triple-folding design. The phone splits into three distinct sections when folded. Each section gets its own power source.
- The smallest battery, labeled T1, sits in the part of the phone with three cameras.
- A slightly larger battery, T3, is placed in the section that holds the main display panel and one camera.
- The biggest battery, T2, powers the middle screen segment. This is the part that tucks between the other two screens when the phone folds up.

The patent paperwork doesn’t reveal how much power each battery holds. It also stays silent on how fast they might charge. However, experts expect its power performance to outshine Samsung’s latest foldable, the Galaxy Z Fold7. That model comes with a 4,400 mAh battery and supports 25W charging.


Initial rumors suggested the Galaxy Z TriFold would only hit shelves in South Korea and China. But newer reports hint that the U.S. might also get a taste of this foldable marvel. The official launch could happen by the end of October 2025.
Beyond the TriFold, Samsung has more tech in the pipeline for next year. They are also preparing to launch their first Android-based Extended Reality (XR) device. This project, codenamed “Moohan,” which means “Endless” in Korean, is set for an October 2025 debut. Pre-registration for the device will open in South Korea from October 15 to 21, 2025. The full unveiling is scheduled for October 22, 2025.
